弹簧管压力表校准和维修时,要把压力表指针完整无损的从中心轴上取下来,需要使用压力表起针器,即可平稳地取下指针,又不会损坏压力表的中心轴。压力表起针器可购买成品,由于其结构简单,完全可以自己制作,通过制作还可以提高仪表工的动手能力,昌晖仪表现介绍一种压力表起针器的制作方法。
压力表起针器制作方法
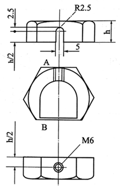
准备一个M20或M22的普通螺母,按图1所示,把图中螺母上的虚线部分去除,有条件时可用机床加工,当然也可以采用手工锯割、锉削加工的方法。然后再按图2所示尺寸,在A端钻孔并攻丝,在拉脚(B)锉削加工一个半圆。由于选用的螺母厚度不一定相同,因此,图中标注的2个尺寸h/2分别是指螺母厚度的1/2,即A端面钻孔并攻丝的圆心点,及拉脚(B)锉削加工半圆的圆心点,均应选择在螺母厚度的1/2处。

图1 待加工螺母示意图 图2 压力表起针器加工图
再找一颗M6的螺钉,在没有螺纹的一端,焊接上横杆或圆手柄,由于其尺寸灵活性很大,图中没有标注具体的尺寸,可根据自已的喜好来加工制作就行了。在有螺纹的另一端固定安装上顶针,一个压力表起针器就做好了,制作好的起针器形状如图3所示。
顶针直径只要有φ0.7mm,φ1mm,φ1.2mm三种,就可以满足大多普通压力表、精密压力的使用了,其中应用最多的是1mm的,其他规格可根据企业实际情况加工制作,而顶针与M6螺杆的固定方式有三种形式,顶针的加工如图4中的E端局部放大图所示。其制作方法如下:

图3 压力表起针器外观图 图4 压力表起针器顶针制作示意图
图4中的(a)是采用钻孔攻丝的方法,攻2.6mm的螺纹,钻孔直径为2.15mm。孔可以钻深点以方便攻丝操作,然后旋上螺钉,旋紧后对螺钉外露部分进行锉削加工,锉削成图中所示的圆锥状,这样顶针就加工好了。
图4中的(b) 是采用焊接的方法,即根据顶针直径钻一个小孔,再找一小截钢丝做顶针,插入已钻好的孔中,用铜焊或锡焊进行焊接,焊接后对顶针稍作锉削加工即可。图4中的(c)是采用缩孔的方法,即根据顶针直径钻一个小孔,但孔的直径要比插入做顶针的钢丝稍大一点,把钢丝要插入孔中的一端用锤进行敲打使其变扁一点,然后把钢丝插人钻好的孔中至底部,用圆冲头对孔边进行缩孔,使插入的钢丝既能活动但又掉不出来即可,对顶针端头稍作锉削加工即完成。
压力表起针器使用方法
压力表起针时要双手操作,左手拿着起针器,先将拉脚套在指针轴套后面,然后把起针器顶针的顶端与机芯中心轴对正,然后用右手顺时针方向旋转顶针杆上的横杆或圆手柄,即可将指针取下来。
没有起压力表针器时怎样起针
可用两把一字形的旋具把指针撬下来。方法是:使用两把一字形旋具,对置于指针轴套后面左右两侧,并使旋具杆靠在表壳两边作为支撑点,两手握住旋具手柄用力把指针撬下来。撬指针时用力要适度,用力过猛会把指针弹跑了,且两手用力要均匀,以免机芯中心轴彼撬弯了。不提倡用此方法,只可在没有压力表起针器时用来应急。
在看完文章后,如果您需要选购压力表,请到仪表选型//www.e-cumulus.com/product/了解压力测量仪表的性能特点和应用。

