由于市场对差压变送器测量准确度的要求不断提高,导致差压变送器的静压影响误差越来越突出。从金属电容式的结构特点分析出发,并结合一定的试验,得出结论:金属电容式差压传感器由于其本身的结构特点决定,其静压影响误差不可消除或明显减小。只有通过静压补偿或采用硅差压传感器原理,才可实现较小的静压影响误差。

1、引言
差压变送器在线性校准时,通常是在负压室通大气的条件下进行的。也就是说静压为1个大气压,但是一旦安装到现场实际使用时,往往会在正负压室加上一定的工作压力,此时会发现零位产生了偏移,满位输出也出现一定的偏移(满位偏移一般要通过与标准仪器比对读出)。这种当加上工作静压,导致变送器的零位和满位输出与大气校验时的零位和满位发生偏移的称为静压影响误差。
2、静压影响对变送器性能的影响和现场举例
差压变送器的静压误差直接影响到其综合精度。差压变送器的综合精度(%)一般有3个因素组成,它们是精度(%)、环境温度变化影响(%/30°)、静压变化影响(%/7MPa)。它们的计算公式为:
![]()
由此可见,静压误差对差压变送器的综合精度来说,是一个非常重要的因素。这点,昌晖仪表在各个实际的应用工况中也得到了实际印证。
比如,当差压变送器应用到孔板流量检测的现场应用的时候,在管道内部装上孔板或喷嘴等节流件,由于节流件的孔径小于管道内径,当流体流经节流件时,流束截面突然收缩,流速加快。经节流件后,后端流体的静压力降低,于是在节流件前后产生了静压压差,该静压压差与流体的流量之间有确定的数值关系、符合Q=K。用差压变送器测量节流件前后的差压,实现对流量的测量。见图1所示:

图1 差压变送器现场压力连接图
当应用在电厂测高压蒸汽流量时,如果对静压影响不作校正或补偿,将会给流量测量带来较大误差,尤其是在相对流量较小时,影响更可观。例如一台金属电容差压变送器型差压变送器同节流装置一起组成差压式流量计,在32MPa工作静压条件下其满量程静压误差为≤±2%FS ,虽然其零位误差,可以通过调零来消除,但是满位输出误差总是无法避免的,因此此误差直接影响流量的测试,并且影响量很大。在这种应用工况下,差压变送器的静压性能显得尤为重要,如果静压误差经过补偿,或其本身静压误差极小,则其测量精度将会得到大幅提高。
3、金属电容传感器静压影响产生的原因
金属电容式传感器是一种结构型传感器,它的静压影响尤其突出。这与其本身的结构特点有关。
金属电容传感器工作原理介绍:介质压力通过隔离膜片和硅油传递给位于δ室中心的测量膜片,测量膜片随它两边的差压而变形。测量膜片的位移,与差压成正比,最大位移为0.1mm。由它两侧的电容极板检测,再经电子转换线路把测量膜片和电容极板之间的差动电容转换为二线制4-20mADC输出信号。

图2 金属电容传感器轴向解剖图 图3 受工作静压时的工作剖面图
3.1静压影响产生的原因一
从图2、图3可以看出金属电容式是两边受压,压力经隔离膜片传递到内部中心膜片上。
从图4金属电容式传感器简化后的应力分布图和挠度变化图上可以看出,传感器内部的压力从中心向四周方向分布, X方向的应力得到全部抵消,但是Y方向的应力q全部加在了传感器的外壳上。由于结构尺寸的原因,越靠近中心,结构越单薄,传感器的抗压能力越差,尤其是中心膜片处,结构强度最为薄弱。在高压静压下,中心点处产生一个最大的挠度f。结果就是,在高静压下中心隔离膜片向外的涨紧力增加,膜片的绷紧程度相对工作静压为零时,得到加强。并且工作静压越大,其绷紧的程度越大。
在绷紧力增加的状况下,中心膜片随差压的位移就会变小,再经电子转换线路把测量膜片和电容极板之间的差动电容转换为二线制4~20mADC输出的信号也同样变小。最终导致测量误差的产生,静压影响误差的出现,并且静压影响绝对误差与所加的工作静压有一定的线性关系,工作静压越大,其量程的静压误差就越大。
至于零位的静压误差,则表现为方向不确定,这主要与焊接应力和传感器的个性相关,不具有规律性。

图4 金属电容式传感器简化后的应力分布图和挠度变化图
3.2 静压影响产生的原因二
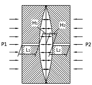
从图5可以看出,当对传感器两侧施加静压时,金属电容式的两侧曲面座同时受压。而曲面坐由金属和玻璃组成,在外力作用下,会产生微小变形。因此其两侧曲面坐的厚度L1和L2随着静压力P的增大而线性缩小。从而,导致两侧电容极板的极距H1和H2增大。
根据电容的定义,对于平行板电容器的电容为:

图5 金属电容式传感器X轴方向受静压力简化图
从以上静压影响产生的两个原因分析,金属电容传感器在工作静压的影响下,不可避免地会产生测量漂移误差,对于满位的漂移和工作静压存在一定的线性关系,对于零位的漂移则具有方向不确定性。
4、昌晖硅传感器静压影响分析
金属电容式传感器是一种结构型传感器,它的静压影响尤其突出。这与其本身的结构特点有关。
昌晖仪表引进瑞士的硅传感器采用整体封装,周围被密封硅油包围,其敏感元件四周均受力,受静压影响力非常小。
工作原理介绍:
硅传感器的敏感元件是将P型杂质扩散到N型硅片上,形成极薄的导电P型层,焊上引线即成“硅应变片”,其电气性能是做成一个全动态的压阻效应惠斯登电桥。它和弹性元件(即其N型硅基底)结合在一起。介质压力通过密封硅油传到硅膜片的正腔侧,与作用在负腔侧硅油形成压差,它们共同作用的结果使膜片的一侧压缩,另一侧拉伸,压差使电桥失衡,输出一个与压力变化对应的信号。惠斯登电桥的输出信号电路处理后,即产生与压力变化成线性关系的4-20mmADC标准信号输出。

图6 硅传感器的结构示意图 图7 硅传感器在工作静压下的受应力分布图
从图6硅传感器的结构示意图上可以看出,硅传感器完全被硅油包容,从图7硅传感器在工作静压下的受应力分布图上可以看出,硅传感器内外各个方向的应力得到了有效抵消。只有在基础硅片和导油管的环装连接胶处,当有工作静压时存在一个将连接胶压紧的应力。这个应力基本影响不到测量硅片,所以昌晖单晶硅传感器的设计结构受工作静压的影响较小,比较适合应用于高静压测量场合。
5、金属电容传感器的静压影响数据与结果分析
5.1 测量方法

图8 静压对比测量装置(T1为基准差压变送器,T2为被测差压变送器,S1为负腔可调储气气缸,S2为正腔储气气缸)
工作原理:高压气源(7MPa)将高压氮气同时加到T1、T2变送器上,然后关闭三阀组的平衡阀,通过微动调解S1的气缸活塞,可获得变送器的量程输出。将被测变送器和基准变送器的数据进行比较,即可推算被测变送器的在此高压静压(7MPa)下的量程静压影响误差。
5.2 测量数据
本试验中,基准差压变送器采用昌晖单晶硅差压变送器(经过静压补偿),被测差压变送器采用金属电容差压变送器DP型电容式差压变送器。满量程均为40kPa,工作静压为7MPa。试验前,所有的变送器均经过线性补偿,其基本误差符合±0.075%的要求。
表1:昌晖单晶硅差压变送器和金属电容差压变送器同量程(40kPa)7MPa工作静压下的电压输出值记录

从表1中可以看出:
①在7MPa工作静压下,电容式差压变送器的零位输出没有规律性,与0MPa静压下的零位输出比较,其中部分数据变小,部分数据变大。
②在7MPa工作静压下,电容式差压变送器的压差线性输出全部偏小,压差值越大则偏差越大。即满量程输出偏差最大,平均满量程静压偏差达-0.020V,即-0.5%。
分析以上列举的试验数据,并根据文中对不同传感器对静压影响量的阐述,可知金属电容式差压变送器由于其本身结构上的原因,导致其输出在静压工作下发生较大的偏移。
从产品设计的角度出发,为了降低或消除这种偏差,可以通过以下两个方案实施:
①敏感元件采用压力传导介质全包结构设计,如上文提到的采用硅传感器,它能有效地降低或消除静压影响;
②采用软件静压补偿原理
首先,在传感器内部额外设置静压传感器,用以测试工作静压;然后,使用专用设备对每种量程的差压传感器进行多次重复的静压误差测试,积累到一定的数据后,采用软件的方法建立静压偏移数学模型;最后,将静压偏移数学模型下载到每台差压变送器中。这样当经过静压补偿后的差压变送器,在现场应用时,将根据不同的工作静压,自动修正量程输出偏差,达到消减静压影响的目的。
昌晖仪表目前开发的YR-ER100系列高精度单晶硅变送器,正是基于以上两点展开研究的,并在市场上获得一致好评,为客户解决了静压影响问题。相信在不久的将来可以将工作静压对差压传感器精度的影响降为更低。
相关阅读
静压对差压变送器性能影响的研究
三种主流的高稳定性压力变送器技术介绍
单晶硅压力变送器差压变送器如何实现高稳定性



